丽萨主机商新增英国原生IP段资源,适合外贸出海和自媒体使用,支持多种流媒体平台和AI应用,提供不同配置套餐,并支持48小时退款。
- 提供英国原生IP资源,支持Tiktok、BBC iPlayer、GPT等平台解锁。
- 套餐配置多样,价格从68元/月起,流量和带宽选择灵活。
- 采用三网优化线路,实测移动、联通、电信回程表现良好。
- 支持48小时退款,适合短期测试或长期使用。
- 商家主打ISP家宽网络,流媒体支持效果满意。
近期欧洲外贸出海业务和自媒体的需要,对于英国的IP资源还是相对缺少。在这里,我们看到来自丽萨主机商有新补充全新的英国原生IP段资源,而且采用的是大陆三网优化线路,适合自媒体、出海业务用途。根据官方的数据显示Tiktok运营数据好, 解锁Claude Code, Gbps超大带宽,支持解锁BBC iPlayer, 英国Tiktok,GPT, Netflix, HULU, DISNEY等视频平台资源,当然也是支持安装Windows系统的。
这里我们看套餐计划:
| 内存 | 核心 | 硬盘 | 流量 | 带宽 | 价格 | 购买 |
| 1G | 1核 | 10G | 6T/月 | 300M | 68元/月 | 链接 |
| 2G | 2核 | 20G | 8T/月 | 500M | 100元/月 | 链接 |
| 4G | 4核 | 80G | 20T/月 | 1Gbps | 300元/月 | 链接 |
| 2G | 2核 | 40G | 不限 | 200Mbps | 398元/月 | 链接 |
| 4G | 4核 | 80G | 不限 | 500Mbps | 598元/月 | 链接 |
丽萨主机通用九折优惠券
丽萨主机商任意订单九折优惠。
可以叠加优惠券。在这里,我们也开通一台机器进行测试。
![]()
我们先测试一下这个我开通的机器的IP,检测到是ISP。

本地的PING速度还是不错的,毕竟是欧洲机器,而且据说是三网优化线路,这个速度应该是可以的,如果是普通线路应该在接近300ms左右。
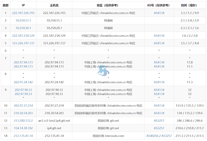
三网的去程测试。
电信去程:

可以看到电信我测试的并不是59.43优化线路,算是普通的202.97电信163节点,应该不是所有的都是优化线路。
移动去程:

联通去程:

我们可以看到三网均是从美国再到欧洲的。

流媒体的支持还是满意的,人家毕竟商家主打的就是ISP网络家宽网络。

最后通过回程可以看到移动精品网络,联通9929,电信是163线路。
如果我们有需要用到英国原生IP流媒体和自媒体需要,包括AI应用的,可以用这个机器的,而且支持48小时退款,可以试试。
原创文章,作者:WanKe,如若转载,请注明出处:https://wankewu.com/resource/1049.html

评论列表(45条)
英国IP终于有靠谱选择啦!刚下单测试~😊
@孤星照夜:同下单了!期待实测效果~
68块一个月?流媒体能跑满就行,观望中🤔
三网优化听着不错,但电信走163有点劝退…
支持Win系统太香了!自媒体人冲了!
这配置打游戏行不行?有人试过吗?
@酒精依赖症:这配置主要还是商务用途,游戏可能不太行
@酒精依赖症:打游戏延迟高不高啊?主要想玩点欧服的
吃瓜:丽萨是不是之前被吐槽过线路不稳?现在改好了?
@醉剑:看评论区说之前有问题,现在实测已经稳定了
48小时退款很良心,先薅个低配试试水👍
@神射手:低配试水成功,已续费中配了
解锁GPT+TikTok双杀,外贸党狂喜!
别吹过头了,实测移动回程才勉强能用吧🙄
@墨影如梦:移动回程确实有点卡,刷视频偶尔转圈🤔
催更!求测评下高配不限流套餐的实际表现!
这个价格对自媒体来说真的很友好,刚需可入👍
@Dapper Dan:自媒体人狂喜,这个价格能接受,冲了
实测移动线路确实不错,看Netflix很流畅
电信走163线路确实是个槽点,希望后续能优化
外贸团队用了两周,TikTok运营效果确实可以
不限流量套餐性价比不错,适合视频团队
想问下这个IP能稳定登录ChatGPT吗?
48小时退款政策很良心,已下单测试
这家之前线路确实波动,最近好像修复了
支持Windows系统太方便了,正在迁移项目
@阳光棉花:支持Win系统对新手太友好了,省事了
伦敦IP解锁BBC iPlayer完美,追剧党狂喜!
这价格配上三网优化,真香警告⚠️
BBC和TikTok双解锁,我直接下单!
电信走163是硬伤,但移动联通能打就行
吃瓜群众路过,等个半年后再看稳定性
不限流量那个套餐是不是适合做中转?
作者测过Claude Code吗?求反馈
@角落蘑菇:Claude Code我测了,能解但偶尔要重试🤔
支持Windows对小白太友好了,已入坑😊
这配置跑TikTok直播稳了,已入手!
价格真香,但希望别像某些商家跑路啊…
求问不限流量套餐能开中转吗?
电信走163确实头疼,延迟高了不少
移动精品网实测不错,刷剧一点不卡
48小时退款太贴心了,小白也能放心试
英国IP终于有靠谱选择了,坐等稳定更新
三网优化听着牛,实际还是看长期表现
催更高配测评!想看看跑AI训练咋样